FDUA71VF/G HEAT EXCH. AND FAN

FDUA71VF/G HEAT EXCH. AND FAN

Parts List

Key:
Instock.
Nilstock.
Contact MRE.

Check the parts position number [ ] matching with the drawing. Login to view prices.

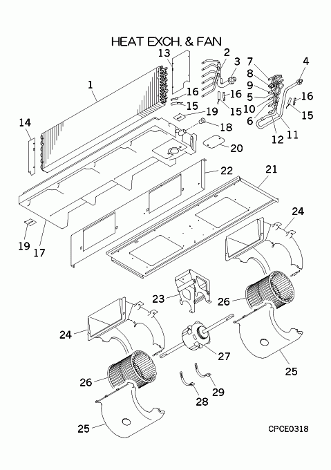
[1] Contact
PJG311A001C
HEAT EXCH(AIR)
Contact
Notes: !
[1-6] In Stock
PJG301A001J
HEAT EXCH ASSY (AIR)
Notes: Indoor Heat Exchanger Coil
[2-3] Contact
PJR315D506D
HEADER ASSY,GAS
Contact
Notes: !
[3] Contact
SSA323F092F
UNION,SOLDER
Contact
[4] In Stock
SSA323F088
UNION(SLD)
Notes: LENGTH 2.6CM Show Image
SSA323F088
[4-12] Contact
PJG315A002A
DISTRIBUTOR ASSY
Contact
[5] Contact
PJG315A001C
DISTRIBUTOR
Contact
Notes: !
[5-12] Contact
PJG315A003
DISTRIBUTOR ASSY
Contact
[6] In Stock
SSA357A051
STRAINER
SSA357A051
[7] Contact
PJG315B001
CAPILLARY
Contact
Notes: !D2.4XD4.0 L300
[8] Contact
PJG315B001A
CAPILLARY
Contact
Notes: !D2.4XD4.0 L180
[9] Contact
PJG315B001B
CAPILLARY
Contact
Notes: !D2.8XD4.0 L180
[10] Contact
PJG315B001C
CAPILLARY
Contact
Notes: !D2.8XD4.0 L180
[11] Contact
PJG315B001G
CAPILLARY
Contact
Notes: !D3.0XD4.0 L180
[12] Contact
PJG315B001H
CAPILLARY
Contact
Notes: !D2.2XD4.0 L300
[13] Contact
PJG141A003
PLATE,BAFFLE(R)
Contact
[14] Contact
PJG141A004
PLATE,BAFFLE(L)
Contact
[15] In Stock
PSA551A042H
SENSOR ASSY (TEMP)
Notes: THI-R1,2,3
[16] In Stock
PSA941F001
SPRING LEAF
Notes: FOR THI-R, 1pc ONLY Show Image
PSA941F001
[17-18] In Stock
PJG454A001C
DRAIN PAN
[18] In Stock
SSA326A003F
PLUG
SSA326A003F
[19] In Stock
PJG116A009
BRACKET
PJG116A009
[20] In Stock
PJG142A006
LID ASSY(DRAIN)
Notes: LENGTH 10CM Show Image
PJG142A006
[21] In Stock
PJG119A001A
PLATE(BASE,FAN)
[22] In Stock
PJG119A003A
PLATE,FAN
[23] In Stock
PJG116A001B
BRACKET ASSY(MOTOR)
PJG116A001B
[24] In Stock
PJG433B001
BELLMOUTH
Notes: Upper
[25] In Stock
PJG433B002
BELLMOUTH
Notes: Lower
[26] In Stock
SSA431D093A
IMPELLER
SSA431D093A
[27] In Stock
SSA512T109ZC
MOTOR,DC
Notes: TWIN SHAFT
[28] In Stock
PJG116A063
BRACKET(MOTOR)
Notes: LEFT Show Image
PJG116A063
[29] In Stock
PFA116A207H
BRACKET
Notes: RIGHT Show Image
PFA116A207H
SKU: FDUA71VF/G HEAT EXCH. AND FAN Category:
0
    0
    Your Cart
    Your cart is empty
      Calculate Shipping