FDE36KXZE1/E HEAT EXCH. ASSY

FDE36KXZE1/E HEAT EXCH. ASSY

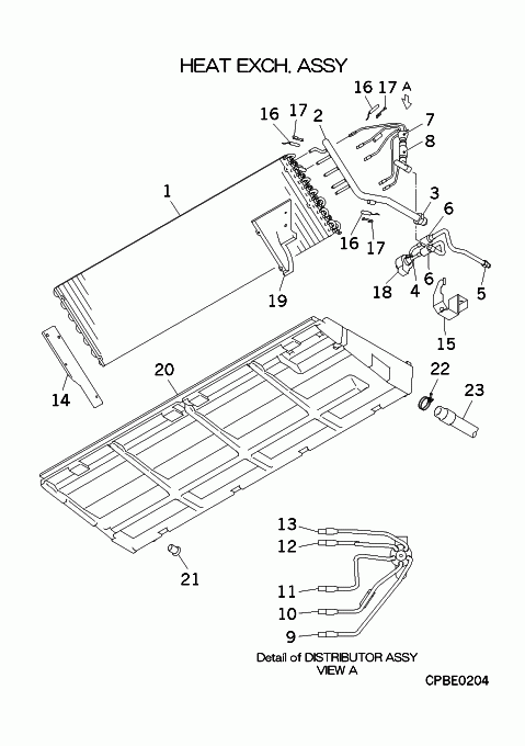
Parts List

Key:
Instock.
Nilstock.
Contact MRE.

Check the parts position number [ ] matching with the drawing. Login to view prices.

[1] Contact
PFA311A615B
HEAT EXCH(AIR)
Contact
Notes: !
[1-18] Contact
PFA301A616D
HEAT EXCH ASSY(AIR
Contact
Substitute: PFA301A616M
[2-3] Contact
PFA315D609B
HEADER ASSY,GAS
Contact
Notes: !
[3] Contact
SSA323F092C
UNION,SOLDER
Contact
[4] In Stock
SSA387F047
VALVE EXP
Notes: SM, EEV - VALVE BODY Show Image
SSA387F047
[5] Contact
SSA323F092
UNION,SOLDER
Contact
[6] In Stock
SSA357A051B
STRAINER
SSA357A051B
[7] Contact
SSA315A311AC
DISTRIBUTOR
Contact
Notes: !
[7-13] Contact
PFA315A621
DISTRIBUTOR ASSY
Contact
[8] In Stock
SSA357A051D
STRAINER
SSA357A051D
[9] Contact
PFA315B757
CAPILLARY
Contact
Notes: !D2.2XD4.0 L160
[10] Contact
PFA315B757A
CAPILLARY
Contact
Notes: !D2.6XD4.0 L140
[11] Contact
PFA315B757B
CAPILLARY
Contact
Notes: !D2.6XD4.0 L140
[12] Contact
PFA315B757C
CAPILLARY
Contact
Notes: !D3.0XD4.0 L200
[13] Contact
PFA315B757D
CAPILLARY
Contact
Notes: !D2.2XD4.0 L200
[14] Contact
PFA141A607B
PLATE,BAFFLE
Contact
Notes: LEFT
[15] Contact
PFA116A647
PLATE,EEV
Contact
[16] In Stock
PJF551A002B
SENSOR ASSY(TEMP)
Notes: THI-R1,2,3 Show Image
PJF551A002B
[17] In Stock
PSA941F001
SPRING LEAF
Notes: FOR THI-R, 1pc ONLY Show Image
PSA941F001
[18] In Stock
SSA382F228BA
SENSOR ASSY
Notes: FOR SM, FOR EEVH1 Show Image
SSA382F228BA
[19] Contact
PFA141A606B
PLATE,BAFFLE
Contact
Notes: RIGHT
[20-21] In Stock
PFA454A614A
PAN ASSY,DRAIN
[21] In Stock
SSA326A003F
PLUG
SSA326A003F
[22] In Stock
V300Y30
CLAMP
V300Y30
[23] In Stock
SSA423A106A
HOSE DRAIN
SKU: FDE36KXZE1/E HEAT EXCH. ASSY Category:
0
    0
    Your Cart
    Your cart is empty
      Calculate Shipping