FDCS112KXEN6/A HEAT EXCH. ASSY

FDCS112KXEN6/A HEAT EXCH. ASSY

Parts List

Key:
Instock.
Nilstock.
Contact MRE.

Check the parts position number [ ] matching with the drawing. Login to view prices.

[1] Contact
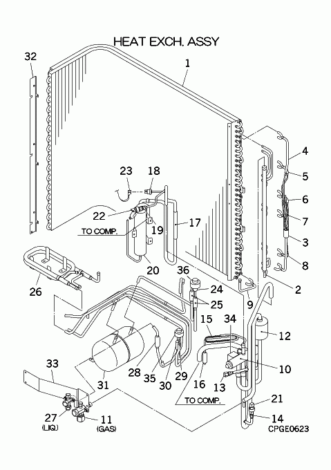
PCA311A052R
HEAT EXCH(AIR)
Contact
Notes: !
[1-9] In Stock
PCA301A144
HEAT EXCH ASSY(AIR
[2] Contact
PCA315D182
HEADER ASSY,GAS
Contact
Notes: !
[3] Contact
SSA315A237
DISTRIBUTOR
Contact
Substitute: SSA315A252 Notes: !
[3-8] Contact
PCA315A089C
DISTRIBUTOR ASSY
Contact
[4] Contact
PCA315B858
CAPILLARY ASSY(1)
Contact
Notes: !D2.8XD4.0 L300
[5] Contact
PCA315B859
CAPILLARY ASSY(2)
Contact
Notes: !D2.8XD4.0 L300
[6] Contact
PCA315B860
CAPILLARY ASSY(3)
Contact
Notes: !D2.8XD4.0 L300
[7] Contact
PCA315B861
CAPILLARY ASSY(4)
Contact
Notes: !D2.8XD4.0 L300
[8] Contact
PCA315B862
CAPILLARY ASSY(5)
Contact
Notes: !D2.8XD4.0 L300
[9] Contact
PCA321C813
PIPE ASSY
Contact
[10] In Stock
SSA382C096A
VALVE, S(4WAY)
Notes: 20S, Reversing Valve Body
[11] In Stock
PCA381A062C
VALVE,SERVICE(5/8")
Notes: GAS, GAS / SUCTION SERVICE VALVE - 5/8'
[12] Contact
SSA325A001CM
PIPE,SHELL
Contact
[13] In Stock
SSA327B067
VALVE,SERVICE
SSA327B067
[14] In Stock
PCA327B056
VALVE ASSY,SERVICE
PCA327B056
[15] Contact
PCA315B888
CAPILLARY
Contact
Notes: !D0.9XD2.0 L500
[15-16] Contact
PCA315B887
CAPILLARY ASSY(OIL
Contact
[16] In Stock
SSA357A005A
STRAINER
SSA357A005A
[17] In Stock
SSA385A017
VALVE CHECK
SSA385A017
[18] In Stock
SSA532A083
SWITCH HP
Notes: 63H1, (HIGH PRESSURE SWITCH) - 63H1 Show Image
SSA532A083
[19] Contact
SSA327B071B
VALVE,SERVICE
Contact
Substitute: PCA327B056B
[20] Contact
PCA325A010B
PIPE ASSY,SHELL
Contact
[21] In Stock
SSA551D022C
SENSOR LP
Notes: PSL, LOW PRESSURE TRANSDUCER Show Image
SSA551D022C
[22] In Stock
SSA551D024C
SENSOR,HP
Notes: PSH Show Image
SSA551D024C
[23] In Stock
PCA504A264FT
WIRING ASSY
PCA504A264FT
[24] In Stock
SSA387F039A
EXP VALVE
Notes: EEVH Show Image
SSA387F039A
[24-25] Contact
PCA387F033A
VALVE ASSY,EXP(HEA
Contact
[25] In Stock
SSA357A059T
STRAINER
SSA357A059T
[26] Contact
PCA303A001
HEAT EXCH ASSY(LIQ
Contact
[27] In Stock
PCA381A066B
VALVE,SERVICE(3/8")
Notes: LIQ., LIQUID LINE SERVICE VALVE - 3/8" Show Image
PCA381A066B
[28] In Stock
SSA357A059B
STRAINER
SSA357A059B
[29] In Stock
SSA387F051
VALVE,BODY(EXP)
Notes: EEVC, 'BODY' ONLY. Does NOT include coil
[30] In Stock
SSA357A005AC
STRAINER
SSA357A005AC
[31] In Stock
SSA352B047
RECEIVER
[32] Contact
PCA141A100A
PLATE,BAFFLE(L)
Contact
[33] Contact
PCA116A199C
BRACKET
Contact
[34] In Stock
PCA382F002AD
COIL ASSY, SOLENOID
Notes: FOR 20S Show Image
PCA382F002AD
[35] In Stock
SSA382F210AD
COIL SOLENOID
Notes: FOR EEVC Show Image
SSA382F210AD
[36] In Stock
SSA382F212K
COIL,SOLENOID
Notes: FOR EEVH, FOR SM2‚ (HEATING), 5 CABLE - RED PLUG Show Image
SSA382F212K
SKU: FDCS112KXEN6/A HEAT EXCH. ASSY Category:
0
    0
    Your Cart
    Your cart is empty
      Calculate Shipping