FDCP281HKXE2DKT CONTROL AND PARTS SET

FDCP281HKXE2DKT CONTROL AND PARTS SET

Parts List

Key:
Instock.
Nilstock.
Contact MRE.

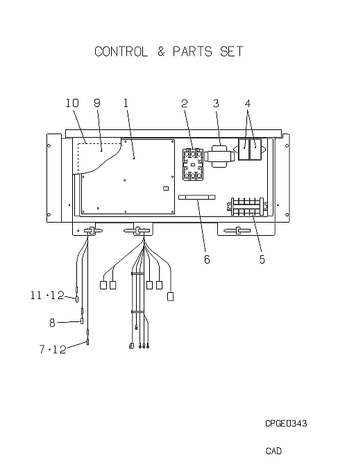
Check the parts position number [ ] matching with the drawing. Login to view prices.

[1] In Stock
PCB505A038BC
PWB ASSY
[1-8] Contact
PCB501A126D
CONTROL UNIT
Contact
Notes: NOT AVAILABLE
[2] Out of Stock
SSA521A189A
CONTACT 5M
Substitute: OUT OF PRODUCTION Notes: 52C Show Image
SSA521A189A
[3] In Stock
PJA554A005F
TRANSFORMER
Notes: TX Show Image
PJA554A005F
[4] In Stock
SSA552A162
CAPACITOR,R
Notes: CFO1
[5] In Stock
SSA561B687
BLOCK,TERMI
Notes: TB1 Show Image
SSA561B687
[6] Contact
SSA561B600A
BL0CK G
Contact
Notes: TB2
[7] Out of Stock
PCA551A001A
SENSORASSY
Substitute: OUT OF PRODUCTION Notes: THO-D
[8] In Stock
PCB551A016
SENSOR ASSY
Notes: THO-A Show Image
PCB551A016
[9-10] Contact
PCB142A250N
LID,CONTROL
Contact
[10] Contact
PSC011G278
LABEL,WIRIN
Contact
[11] Out of Stock
PJA551A005J
SENSOR HKX
Substitute: OUT OF PRODUCTION Notes: THO-R
[12] In Stock
RKF941F002A
SPRING
RKF941F002A
[13-14] Contact
PCB008A099M
PARTS SET
Contact
[14] Contact
PSA011F759BR
LABEL,MODEL NAME
Contact
SKU: FDCP281HKXE2DKT CONTROL AND PARTS SET Category:
0
    0
    Your Cart
    Your cart is empty
      Calculate Shipping