FDCP280HKXRE2A CONTROL AND PARTS SET

FDCP280HKXRE2A CONTROL AND PARTS SET

Parts List

Key:
Instock.
Nilstock.
Contact MRE.

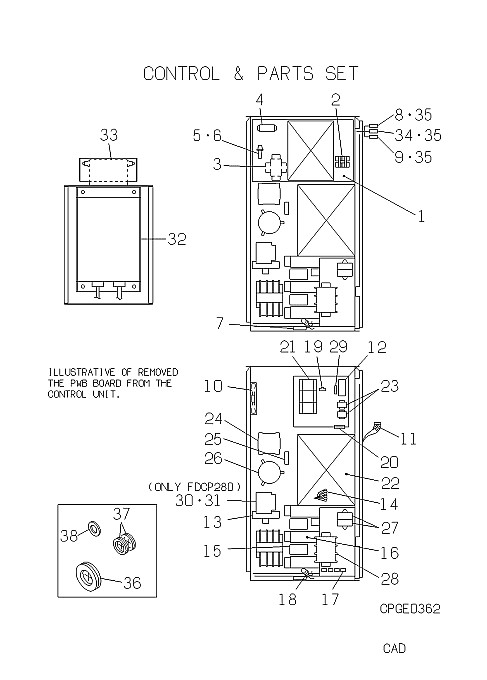
Check the parts position number [ ] matching with the drawing. Login to view prices.

[1] In Stock
PCB505A012AL
PWB ASY 407
PCB505A012AL
[1-33] Out of Stock
PCB501A146C
CONTROL UNI
Substitute: OUT OF PRODUCTION Notes: NOT AVAILABLE
[1-4] Contact
PCB501A147C
CONTROL ASSY,PWB
Contact
[2] In Stock
SSA561B203AC
BLOCK, TERMINAL
Notes: TB Show Image
SSA561B203AC
[3] In Stock
PJA554A004D
TRANSF HKX
Notes: TX
[4] In Stock
SSA521A053A
RELAY
SSA521A053A
[5] In Stock
SSA564A072C
FUSE
Notes: 3.15A, 3.15 Amps Show Image
SSA564A072C
[6] In Stock
SSA564B059
HOLDER,FUSE
SSA564B059
[7] Out of Stock
PCB551A003
SENSOR ASSY
Notes: THO-A
[8] In Stock
PCB551A004
SENSOR
Notes: THO-D Show Image
PCB551A004
[9] Out of Stock
PCB551A005
SENSOR ASSY
Substitute: OUT OF PRODUCTION Notes: THO-C Show Image
PCB551A005
[10] In Stock
SSA431B132B
FAN PROPELL
Notes: (COOLING FAN FOR ELECTRONICS) Show Image
SSA431B132B
[10-31] Contact
PCB501A052C
CONTROL,INV
Contact
Substitute: OUT OF PRODUCTION
[11] Out of Stock
SSA504A006A
WIRING ASSY
[12] In Stock
SSA555A627A
DIODE KX7
SSA555A627A
[13] In Stock
SSA553A079
RESISTOR
SSA553A079
[14] Contact
SSA552F075
CAPACITOR
Contact
[15] Out of Stock
SSA554D015
FILTER NOIS
Substitute: OUT OF PRODUCTION Show Image
SSA554D015
[16] Contact
SSA561B016
BLOCK
Contact
[17] Contact
SSA552F073
CAPACITRHK7
Contact
[18] Contact
SSA555B019A
VARISTER
Contact
Substitute: PCB555B002 Notes: PURGE ABSORBER
[19] In Stock
SSA551A121A
THEMAL SW
SSA551A121A
[20] In Stock
SSA553A081A
RESISTOR
SSA553A081A
[21] Out of Stock
SSA555D801
P0WERTRAKX7
Substitute: OUT OF PRODUCTION
[22] Contact
PCB505A010B
PWB INBATAR
Contact
Substitute: PCB505A010F
[23] Out of Stock
SSA551J009B
AC CT KX7
Substitute: OUT OF PRODUCTION Notes: AC-CT1,2 Show Image
SSA551J009B
[24] Out of Stock
SSA554B013
REACTOR
Substitute: OUT OF PRODUCTION Show Image
SSA554B013
[25] Out of Stock
SSA551J008A
SENSOR KX7
Notes: DC-CT
[26] In Stock
SSA552F072B
CAPACITRKX7
Notes: C1 Show Image
SSA552F072B
[27] In Stock
SSA552A774
CAPACITOR
Notes: CFO1,2 Show Image
SSA552A774
[28] Contact
SSA561B630
BLOCK
Contact
Notes: TB1
[29] Out of Stock
SSA552F179
CAPACITOR
[30] In Stock
SSA521A186
CONTACTOR
[31] Contact
SSA119A001
PLATE X7
Contact
[32] Contact
SSA554A355A
TRANSFORMER
Contact
Notes: TR
[32-33] Contact
PCB554A003A
TRANSFORMER ASSY
Contact
[33] In Stock
SSA552D045
FILTER,NOIS
Notes: NR
[34] Out of Stock
PJA551A005J
SENSOR HKX
Substitute: OUT OF PRODUCTION Notes: THO-R
[35] In Stock
RKF941F002A
SPRING
RKF941F002A
[36] Contact
SSA947A002BB
GROMMET
Contact
Notes: D65
[36-41] Contact
PCB008A105C
PARTS SET
Contact
[37] In Stock
S751W30X
GROMMET V14
Notes: D35, ***SOLD INDIVIDUALLY*** Show Image
S751W30X
[38] Contact
SSA932A004F
PACKING
Contact
Substitute: SSA932A004P
[39] Contact
PSC011G129
LABEL,WIRING
Contact
[40] Contact
PSB012D770
MANUAL,INSTALLATIO
Contact
[41] Contact
PSA011F896L
LABEL,MODEL NAME
Contact
SKU: FDCP280HKXRE2A CONTROL AND PARTS SET Category:
0
    0
    Your Cart
    Your cart is empty
      Calculate Shipping