FDCJ225HKXE2DKT CONTROL AND PARTS SET

FDCJ225HKXE2DKT CONTROL AND PARTS SET

Parts List

Key:
Instock.
Nilstock.
Contact MRE.

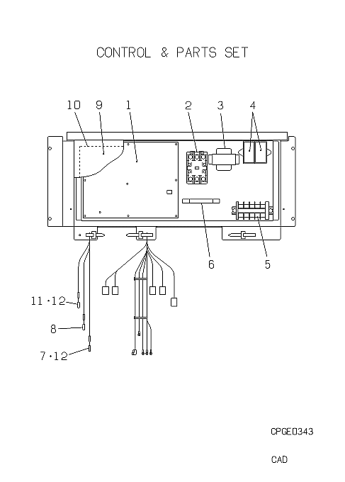
Check the parts position number [ ] matching with the drawing. Login to view prices.

[1] In Stock
PCB505A038BC
PWB ASSY
Notes: PWB ASSY
[1-8] Contact
PCB501A126A
CONTROL UNIT
Contact
Notes: CONTROL UNIT, NOT AVAILABLE
[2] Out of Stock
SSA521A187A
CONTACTOR
Substitute: OUT OF PRODUCTION Notes: CONTACTOR,EM Show Image
SSA521A187A
[3] In Stock
PJA554A005F
TRANSFORMER
Notes: TRANSFORMER ASSY Show Image
PJA554A005F
[4] In Stock
SSA552A162
CAPACITOR,R
Notes: CAPACITOR,RUNNING
[5] In Stock
SSA561B687
BLOCK,TERMI
Notes: BLOCK,TERMINAL Show Image
SSA561B687
[6] Contact
SSA561B600A
BL0CK G
Contact
Notes: BLOCK,TERMINAL
[7] Out of Stock
PCA551A001A
SENSORASSY
Substitute: OUT OF PRODUCTION Notes: THO-D
[8] In Stock
PCB551A016
SENSOR ASSY
Notes: SENSOR ASSY, THO-A Show Image
PCB551A016
[9-10] Contact
PCB142A250N
LID,CONTROL
Contact
Notes: LID,CONTROL BOX
[10] Contact
PSC011G278
LABEL,WIRIN
Contact
Notes: LABEL,WIRING
[11] Out of Stock
PJA551A005J
SENSOR HKX
Substitute: OUT OF PRODUCTION Notes: SENSOR(TEMPERATURE
[12] In Stock
RKF941F002A
SPRING
Notes: SPRING,LEAF Show Image
RKF941F002A
[13-14] Contact
PCB008A099D
PARTS SET
Contact
Notes: PARTS SET
[14] Contact
PSA011F759BH
LABEL,MODEL NAME
Contact
Notes: LABEL,MODEL NAME
SKU: FDCJ225HKXE2DKT CONTROL AND PARTS SET Category:
0
    0
    Your Cart
    Your cart is empty
      Calculate Shipping