FDCJ224HKXE2D-K CONTROL AND PARTS SET

FDCJ224HKXE2D-K CONTROL AND PARTS SET

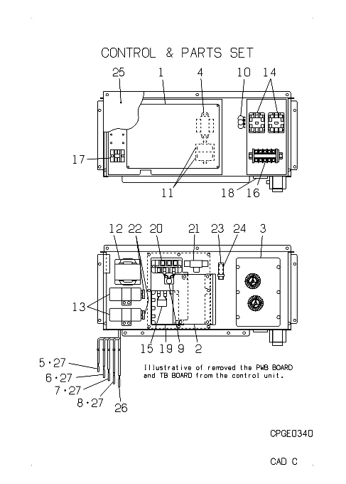
Parts List

Key:
Instock.
Nilstock.
Contact MRE.

Check the parts position number [ ] matching with the drawing. Login to view prices.

[1] Out of Stock
PCB505A026HN
PWB ASSY
Substitute: NOT ALTERNATIVES Notes: PWB1 ONLY FOR SUPPLY, OUT OF PRODUCTION - PWB1 CONTROL Show Image
PCB505A026HN
[1-25] Out of Stock
PCB501A139L
CONTROL UNI
[2] In Stock
PCB505A033C
PWB ASSY(INV.)
Notes: PWB2 INVERTER Show Image
PCB505A033C
[3] In Stock
PCB505A035
PWB ASSY(N.F)
Notes: PWB3 NOISE FILTER Show Image
PCB505A035
[4] In Stock
PJA554A005F
TRANSFORMER
Notes: TX Show Image
PJA554A005F
[5] In Stock
PCB551A016
SENSOR ASSY
Notes: THO-A Show Image
PCB551A016
[6] In Stock
PCB551A016A
SENSOR ASSY
Notes: THO-D1, THO-D1/ LENGTH 69CM Show Image
PCB551A016A
[7] In Stock
PCB551A016B
SENSOR ASSY
Notes: THO-D2 Show Image
PCB551A016B
[8] In Stock
PCB551A016C
SENSOR ASSY
Notes: THO-C Show Image
PCB551A016C
[9] In Stock
PCB555B003
VARISTOR ASSY
PCB555B003
[10] Out of Stock
PCB552D006A
KILLER,NOIS
[11] In Stock
SSA552A162
CAPACITOR,R
Notes: CFO1
[12] Out of Stock
SSA554B044
REACTOR
Substitute: OUT OF PRODUCTION Notes: L1, OUT OF PRODUCTION
[13] In Stock
SSA552F284
CAPACITOR
Notes: C1,2
[14] In Stock
SSA521A186A
CONTACTOR,EM
Notes: 52C1,2 Show Image
SSA521A186A
[15] In Stock
PCB552F004
CAPACITOR ASSY
Notes: 0.33MF Show Image
PCB552F004
[16] In Stock
SSA561B687
BLOCK,TERMI
Notes: TB1 Show Image
SSA561B687
[17] In Stock
SSA561B203AC
BLOCK, TERMINAL
Notes: TB Show Image
SSA561B203AC
[18] In Stock
S751W30X
GROMMET V14
Notes: D35, ***SOLD INDIVIDUALLY*** Show Image
S751W30X
[19] In Stock
PCB008A120A
TRANSISTOR
Notes: TM, IPM (Intelligent Power Module) / POWER TRANSISTOR Show Image
PCB008A120A
[20] In Stock
PCB008A121A
DIODE STACK
Notes: DM, aka DIODE MODULE Show Image
PCB008A121A
[21] In Stock
SSA553A251AN
RESISTOR
Notes: R1, 30OK Show Image
SSA553A251AN
[22] In Stock
SSA553A252AY
RESISTOR
Notes: R3,4 Show Image
SSA553A252AY
[23] In Stock
SSA564A072C
FUSE
Notes: 3.15A, 3.15 Amps Show Image
SSA564A072C
[24] In Stock
SSA564B059
HOLDER,FUSE
SSA564B059
[25] In Stock
PCB142A243
LID CONTR0L
Notes: LENGTH 65CM Show Image
PCB142A243
[26] In Stock
PJA551A005Z
SENSOR
Notes: THO-R Show Image
PJA551A005Z
[27] In Stock
RKF941F002A
SPRING
RKF941F002A
[28-30] Contact
PCB008A099B
PARTS SET
Contact
[29] Contact
PSC011G387
LABEL,WIRIN
Contact
[30] Contact
PSA011F759BF
LABEL,MODEL NAME
Contact
SKU: FDCJ224HKXE2D-K CONTROL AND PARTS SET Category:
0
    0
    Your Cart
    Your cart is empty
      Calculate Shipping