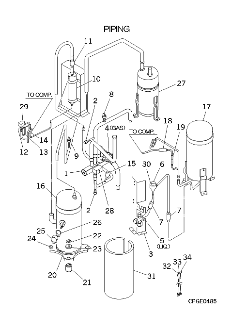
FDCA801HES PIPING

FDCA801HES PIPING

Parts List

Key:
Instock.
Nilstock.
Contact MRE.

Check the parts position number [ ] matching with the drawing. Login to view prices.

[1] In Stock
SSA382C075
VALVE 4WAY
Notes: 20S, 20s - 4 way valve
[2] In Stock
SSA327B067
VALVE,SERVICE
SSA327B067
[3] Out of Stock
PCB116A479
BRACKET
[4] In Stock
SSA381A748A
VALVE,SERVICE
Notes: GAS Show Image
SSA381A748A
[5] Out of Stock
PCB381A076
VALVE SERVI
Notes: LIQ.
[6] In Stock
SSA387F044
EXP VALVE
Notes: EEVC, EEV Body Show Image
SSA387F044
[7] Out of Stock
SSA357A005AD
STRAINER
[8] In Stock
SSA551D022C
SENSOR LP
Notes: PSL, LOW PRESSURE TRANSDUCER Show Image
SSA551D022C
[9] Out of Stock
SSA532A032GP
SWITCH HP
Notes: 63H2
[10] Contact
SSA325A033C
PIPE SHELL
Contact
[10-11] Out of Stock
PCB354A031D
SEPARATOR
Notes: OUT OF PRODUCTION
[11] Contact
SSA385A049
VALVE,CHECK
Contact
[12] In Stock
SSA382A250
2WAY, VALVE
Notes: SV6 Show Image
SSA382A250
[12-14] Out of Stock
PCB321F054A
PIPE ASSY
[13] Contact
PCB315B806
CAPILLARY
Contact
Notes: !D1.2XD3.2 L500
[14] In Stock
SSA357A008BW
STRAINER
[15] In Stock
SSA532A085GR
SWICH HP
Notes: 63H1-1 Show Image
SSA532A085GR
[16] Out of Stock
AGF201A465SL
COMPRESSOR
Substitute: AGF201A866SR Notes: GU-C5176MS56, GU-C5176MS5 ***COMPRESSORS CANNOT BE RETURNED***
[17] In Stock
SSA352A072N
RECEIVER A
[18] In Stock
SSA357A059B
STRAINER
SSA357A059B
[19] Contact
SSA385A027A
CHECK VALVE
Contact
[20] In Stock
PCA541B011M
HEATER ASSY
Notes: CRANK CASE HEATER / COMPRESSOR CRANK HEATER/ LENGTH 161CM Show Image
PCA541B011M
[21] Contact
SSA941C158G
CUSHION RUB
Contact
[22] In Stock
SSA914C033
NUT
Notes: 1pc
[23] In Stock
SSA915H042
WASHER
Notes: 1pc ONLY Show Image
SSA915H042
[24] Contact
SSA914C003
NUT
Contact
Notes: 1pc
[25] In Stock
AGT947K100
COVER TERMINAL
AGT947K100
[26] In Stock
AGT932C100
GASKET COVER
AGT932C100
[27] Out of Stock
SSA351A204G
ACCUMULATO
[28] In Stock
PCB382F092
COIL ASSY,S
Notes: FOR 20S Show Image
PCB382F092
[29] Out of Stock
PCB382F092C
COIL ASSY,S
Notes: FOR SV6, SV6 SOLENOID
[30] Contact
SSA382F212B
SOLENOID
Contact
Notes: FOR EEVC
[31] Contact
PCB151D101
INSULA CON,
Contact
[32] Contact
PCB504A241AG
WIRING ASSY
Contact
Notes: !U
[33] Contact
PCB504A241H
WIRING ASSY
Contact
Notes: !V
[34] Contact
PCB504A241J
WIRING ASSY
Contact
Notes: !W
SKU: FDCA801HES PIPING Category:
0
    0
    Your Cart
    Your cart is empty
      Calculate Shipping