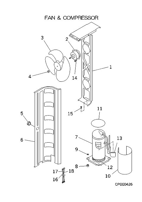
FDCA501HES FAN AND COMPRESSOR

FDCA501HES FAN AND COMPRESSOR

Parts List

Key:
Instock.
Nilstock.
Contact MRE.

Check the parts position number [ ] matching with the drawing. Login to view prices.

[1] Out of Stock
PCA116A109C
BASE MOTOR
Notes: OUT OF PRODUCTION
[2] In Stock
SSA511A669
MOTOR AC
Notes: 6201ZZ
[3] In Stock
SSA431B228
FAN, PROPELLER
Notes: CONDENSER FAN BLADE
[4] In Stock
SSA914B006D
NUT,TH
Notes: 1pc Show Image
SSA914B006D
[5] In Stock
S751W30X
GROMMET V14
Notes: D35, ***SOLD INDIVIDUALLY*** Show Image
S751W30X
[6] Contact
PCA141A078
PLATE ASSY,
Contact
[7] In Stock
PCA201A041D
COMPRESSOR
Notes: ZP54K3E-TFD, ***COMPRESSORS CANNOT BE RETURNED***
[8] In Stock
PCA941C003A
CUSHION,RUB
PCA941C003A
[9] Contact
SSA914C005C
NUT
Contact
Notes: 1pc, FOR ACCUMULATOR
[10] Out of Stock
PCA151D057A
INSULA CON,
Notes: SIDE
[11] Out of Stock
PCA151D070
INSULA CON,
Notes: TOP
[12] Out of Stock
PCA541B021L
HEATER ASSY
Substitute: OUT OF PRODUCTION Show Image
PCA541B021L
[13] Out of Stock
PCA947K003
COVER TERM
Substitute: OUT OF PRODUCTION Show Image
PCA947K003
[14] Contact
W011D04X012
TAP-SCREW
Contact
Notes: 4X12, 1pc ONLY
[15] Contact
SSA913D012
SCREW 5X10
Contact
Notes: 5X10, 1pc ONLY
[16] Contact
SAC567R160R
CORD,IV
Contact
Notes: !T1
[17] Contact
SAC567R140W
CORD,IV
Contact
Notes: !T2
[18] Contact
SAC567R154L
CORD,IV
Contact
Notes: !T3
SKU: FDCA501HES FAN AND COMPRESSOR Category:
0
    0
    Your Cart
    Your cart is empty
      Calculate Shipping