FDCA140VSX/A CONTROL AND PARTS SET

FDCA140VSX/A CONTROL AND PARTS SET

Parts List

Key:
Instock.
Nilstock.
Contact MRE.

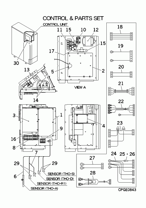
Check the parts position number [ ] matching with the drawing. Login to view prices.

[1] In Stock
PCA505A377BV
PWB ASSY (CONTROL)
Notes: ONLY FOR SUPPLY PARTS
[1-28] Contact
PCA501A198A
CONTROL UNIT
Contact
Notes: !, NOT AVAILABLE
[2] In Stock
PCA505A108DG
PWB ASSY(INVERTER)
Notes: ONLY FOR SUPPLY PARTS, PWB2 - INVERTER BOARD Show Image
PCA505A108DG
[3] In Stock
PCA505A128YB
PWB ASSY NOISE.FILTER
Notes: ONLY FOR SUPPLY PARTS, NOISE FILTER
[4] In Stock
PCA505A180A
PWB, DRED
Notes: ONLY FOR SUPPLY PARTS, Demand Response Enabling Device. Only required if wired-in on installation. FOR MORE INFORMATION DISCUSS WITH TECH SUPPORT Show Image
PCA505A180A
[5] Out of Stock
SSA551A192K
SENSOR
Notes: THO-TIP, THO-TIP or THO-TR or THO-IPM - SENSOR NEAR INVERTER BOARD Show Image
SSA551A192K
[6] In Stock
PSA551A014P
SENSOR ASSY
Notes: THO-A,S,D,R1, THO-A,S,D,R1 - WHITE PLUG WITH 6 BLACK WIRES AND 2 YELLOW WIRES Show Image
PSA551A014P
[7] In Stock
PSA551A013J
SENSOR
Notes: THO-R2 Show Image
PSA551A013J
[8] In Stock
SSA561B693D
BLOCK,TERMINAL
Notes: TB1 Show Image
SSA561B693D
[9] In Stock
SSA561B733
BLOCK,TERMINAL
Notes: TB2, T3 Show Image
SSA561B733
[10] In Stock
SSA521A715A
RELAY
Notes: 52C, 52X1,52X2 - 200-240VAC ***SOLD INDIVIDUALLY***
[11] In Stock
PCB008A121C
PARTS SET
Notes: DIODE MODULE Show Image
PCB008A121C
[12] In Stock
SSA554B097A
REACTOR
Notes: L, L1 Show Image
SSA554B097A
[13] In Stock
SSA552F427AJ
CAPACITOR
Notes: C1,2, C1 400V 3900MF
[14] In Stock
SSA553A380
RESISTOR
Notes: R3,4, SOLD INDIVIDUALLY - 30 kO (kilo-Ohm)/ LENGTH 4.7CM Show Image
SSA553A380
[15] In Stock
SSA553A379
RESISTOR
Notes: R1,2, SOLD INDIVIDUALLY - 15 Ohm Show Image
SSA553A379
[16] Contact
S750W30
GROMMET
Contact
Notes: D35
[17] In Stock
PCA555B002
VARISTOR ASSY
PCA555B002
[18] In Stock
PCA504A264GA
WIRING ASSY
Notes: PWB1 CNI1- PWB2 CNI2 Show Image
PCA504A264GA
[19] In Stock
PCA504A256Z
WIRING ASSY
Notes: C1 +,C1 -- PWB2 CNW2, C1 +,C1 --PWB2 CNW2
[20] Contact
PCA504A264GF
WIRING ASSY
Contact
Notes: PWB3 CN2-1- PWB1 CNW2
[21] Contact
PCA504A292C
WIRING ASSY
Contact
Notes: PWB1 CNDRM- PWB4 CNDRM
[22] In Stock
PCA504A292H
WIRING ASSY
Notes: TB2 D1,TB2 D2,TB2 D3,T, TB2 D1,TB2 D2,TB2 D3,TB2 C,E- PWB4 CNDRED Show Image
PCA504A292H
[23] Contact
PCA504A292L
WIRING ASSY
Contact
Notes: PWB1 CNA1,PWB1 CNA2- P, PWB1 CNA1,PWB1 CNA2- PWB2 CNO1
[24-26] In Stock
PCA504A292M
WIRING ASSY
Notes: PWB3 L1o,PWB3 No,PWB3, PWB3 L1o,PWB3 No,PWB3 L2o- PWB1 CNW,PWB2 CNW1,PWB4 CNPOWER Show Image
PCA504A292M
[25] In Stock
SSA564A149AG
FUSE(CURRENT)
Notes: F 4A, F 4A‚ - 4 AMP FUSE - ****NOT MAIN FUSE**** Show Image
SSA564A149AG
[26] In Stock
RWC564B002
HOLDER,FUSE
RWC564B002
[27] Contact
PCA504A292AL
WIRING ASSY
Contact
Notes: 52C 6,52C 5- PWB1 CNM1
[28] In Stock
PCA504A292AV
WIRING ASSY
Notes: DM G,DM K- PWB2 CNR Show Image
PCA504A292AV
[29] In Stock
PSA941F001
SPRING LEAF
Notes: FOR THO-R1,R2,D,S, 1pc ONLY Show Image
PSA941F001
[30] Contact
PSC011G564L
LABEL,WIRING
Contact
Notes: !
[31] Contact
PSB011F302HW
LABEL,MODEL NAME
Contact
Notes: !
SKU: FDCA140VSX/A CONTROL AND PARTS SET Category:
0
    0
    Your Cart
    Your cart is empty
      Calculate Shipping