FDCA140HKXES4R CONTROL AND PARTS SET

FDCA140HKXES4R CONTROL AND PARTS SET

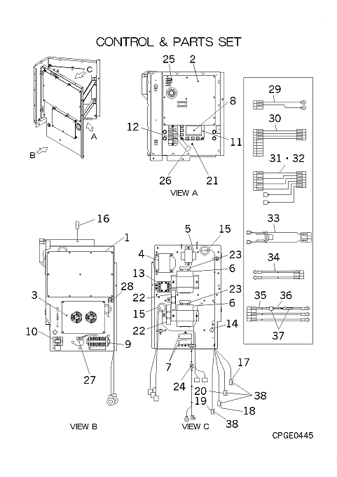
Parts List

Key:
Instock.
Nilstock.
Contact MRE.

Check the parts position number [ ] matching with the drawing. Login to view prices.

[1] In Stock
PCB505A042NA
PWB ASSY
Notes: ONLY FOR SUPPLY PARTS PWB1, PWB1 Show Image
PCB505A042NA
[1-37] Contact
PCA501A129K
CONTROL UNIT
Contact
Notes: !, NOT AVAILABLE
[2] Out of Stock
PCB505A044ZG
PWB ASSY(INV)
Notes: ONLY FOR SUPPLY PARTS PWB2, ****NEED HEAT PASTE PSA971F002/ LENGTH 40CM Show Image
PCB505A044ZG
[3] In Stock
PCB505A035A
PWB ASSY(N.
Notes: PWB3
[4] Out of Stock
SSA554B044D
REACTOR
Notes: L1
[5] In Stock
PCB554A014B
TRANSFORMER
Notes: TR
[6] In Stock
SSA552F427AJ
CAPACITOR
Notes: C7,C8, C1 400V 3900MF
[7] Out of Stock
SSA552A177
CAPACITOR,RUNNING
Substitute: OUT OF PRODUCTION Notes: C3,C4, OUT OF PRODUCTION - NO ALTERNATIVES
[8] Out of Stock
PCB552F006C
CAPACITOR A
[9] In Stock
SSA561B687
BLOCK,TERMI
Notes: TB Show Image
SSA561B687
[9-41] Contact
PCA008A234F
PARTS SET
Contact
Notes: !
[10] In Stock
SSA561B716AC
BLOCK TERMI
Notes: TBX Show Image
SSA561B716AC
[11] In Stock
PCB008A120A
TRANSISTOR
Notes: TM, IPM (Intelligent Power Module) / POWER TRANSISTOR Show Image
PCB008A120A
[12] In Stock
PCB008A121A
DIODE STACK
Notes: DM, aka DIODE MODULE Show Image
PCB008A121A
[13] In Stock
SSA521A186A
CONTACTOR,EM
Notes: 52C1,2 Show Image
SSA521A186A
[14] Contact
S750W12
GROMMET
Contact
Notes: D15
[15] Contact
S750W30
GROMMET
Contact
Notes: D35
[16] In Stock
PCA551A027D
SENSER
Notes: THO-A, LENGTH 64.5CM Show Image
PCA551A027D
[17] In Stock
PCA551A027A
SENSER
Notes: THO-D
[18] Out of Stock
PCA551A027B
SENSOR
Notes: THO-C, Base Dome Sensor Show Image
PCA551A027B
[19] In Stock
PCA551A027C
SENSOR
Notes: THO-R, THO-R/ LENGTH 150CM Show Image
PCA551A027C
[20] In Stock
PCA551A027
SENSER
Notes: THO-S Show Image
PCA551A027
[21] In Stock
SSA551A192
SENSOR ASSY
Notes: THO-TR Show Image
SSA551A192
[22] In Stock
SSA553A379
RESISTOR
Notes: R1,R2, SOLD INDIVIDUALLY - 15 Ohm Show Image
SSA553A379
[23] In Stock
SSA553A380
RESISTOR
Notes: R3,R4, SOLD INDIVIDUALLY - 30 kO (kilo-Ohm)/ LENGTH 4.7CM Show Image
SSA553A380
[24] In Stock
SSA552D040Y
FILTER,NOISE
SSA552D040Y
[25] Contact
SSA562K005
RLOCK TERMI
Contact
Notes: TB2
[26] In Stock
PCB555B003
VARISTOR ASSY
PCB555B003
[27] Out of Stock
PCB552D006A
KILLER,NOIS
[28] Contact
PCA552F002
CAPACITOR A
Contact
[29] Contact
PCA504A228AB
WIRING ASSY
Contact
Notes: PWB1 CNX1-TBX
[30] Contact
PCA504A228AC
WIRING ASSY
Contact
Notes: PWB2 CNI2-PWB1 CNI1
[31] Contact
PCA504A228AH
WIRING ASSY
Contact
Notes: PWB1 CNFM1-FM1 AC
[32] Contact
PCA504A228AJ
WIRING ASSY
Contact
Notes: PWB1 CNFM2,C4-FM2 AC
[33] Contact
PCA504A228CK
WIRING ASSY
Contact
Notes: D.M D.M-PWB2 CNR
[34] Contact
PCA504A228DA
WIRING ASSY
Contact
Notes: 52C-PWB1 CNM1
[35-37] Contact
PCA504A228DH
WIRING ASSY
Contact
Notes: PWB1 CNW1-PWB3
[36] In Stock
SSA564A072C
FUSE
Notes: F 3.15A, 3.15 Amps Show Image
SSA564A072C
[37] In Stock
SSA564B059
HOLDER,FUSE
SSA564B059
[38] In Stock
PSA941F001
SPRING LEAF
Notes: FOR THO-D,R,H,S, 1pc ONLY Show Image
PSA941F001
[39] Contact
PSC011G502
LABEL,WIRING
Contact
Notes: !
[40] Contact
PCA012A001
MANUAL,INSTRUCTION
Contact
[41] Contact
PSA011F919DV
LABEL,MODEL NAME
Contact
Notes: !
SKU: FDCA140HKXES4R CONTROL AND PARTS SET Category:
0
    0
    Your Cart
    Your cart is empty
      Calculate Shipping