FDCA100VNX/1 CONTROL AND PARTS SET

FDCA100VNX/1 CONTROL AND PARTS SET

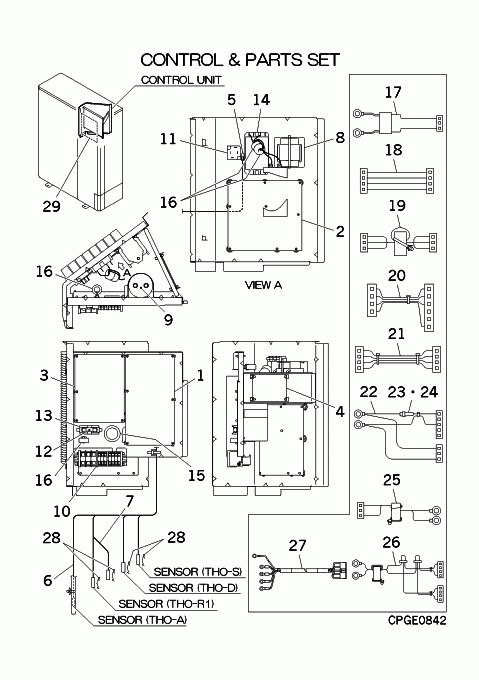
Parts List

Key:
Instock.
Nilstock.
Contact MRE.

Check the parts position number [ ] matching with the drawing. Login to view prices.

[1] In Stock
PCA505A377BR
PWB ASSY CONTROL
Notes: PWB1
[1-27] Contact
PCA501A197
CONTROL UNIT
Contact
Substitute: NOT AVAILABLE Notes: NOT AVAILABLE
[2] In Stock
PCA505A194DM
PWB ASSY(INVERTER)
Notes: PWB2, INVERTER BOARD - PWB2 (SCREWS NOT INCLUDED) Show Image
PCA505A194DM
[3] In Stock
PCA505A179J
PWB ASSY(NOISE.FILTER)
Notes: PWB3, NOISE FILTER (SCREWS NOT INCLUDED) / PART NUMBER FOR SCREW & WASHER IS SSA912B105B Show Image
PCA505A179J
[4] In Stock
PCA505A180
PWB, DRED
Notes: PWB4, SSA511T265 Show Image
PCA505A180
[5] In Stock
SSA551A256L
SENSOR
Notes: THO-P Show Image
SSA551A256L
[6] In Stock
PSA551A014P
SENSOR ASSY
Notes: THO-A,S,D,R1, THO-A,S,D,R1 - WHITE PLUG WITH 6 BLACK WIRES AND 2 YELLOW WIRES Show Image
PSA551A014P
[7] In Stock
PSA551A013J
SENSOR
Notes: THO-R2 Show Image
PSA551A013J
[8] In Stock
SSA554B092
REACTOR
Notes: L1
[9] In Stock
SSA552F601
CAPACITOR
Notes: C1, 450v 2700mf, COMPRESSOR CAPACITOR Show Image
SSA552F601
[10] In Stock
SSA561B693AC
BLOCK,TERMINAL
Notes: TB Show Image
SSA561B693AC
[11] In Stock
PCA008A276A
PARTS SET(DIODE)
Notes: DM OR DS (DIODE STACK) Show Image
PCA008A276A
[12] In Stock
PCA504A300
FUSE ASSY
Notes: TB L1- PWB3 L1I(F 30A), 30AMP FUSE WITH SOLDED WIRES (FOR FUSE HOLDER SEE SSA564B044)
[13] In Stock
SSA564B044
HOLDER, FUSE
SSA564B044
[14] In Stock
SSA556J035A
IC (ACTIVE CONVERTER)
Notes: A/F MODULE (Active Filter Module) - Also known as ACT/IPM Show Image
SSA556J035A
[15] Contact
S750W30
GROMMET
Contact
Notes: D35
[16] In Stock
SSA554D183
KILLER,NOISE
SSA554D183
[17] Contact
PCA504A264JB
WIRING ASSY
Contact
Notes: TB 2,TB 3- PWB1 CNW2
[18] In Stock
PCA504A264GA
WIRING ASSY
Notes: PWB1 CNI1- PWB2 CNI2 Show Image
PCA504A264GA
[19] In Stock
PCA504A264FB
WIRING ASSY
Notes: PWB1 CNI3- PWB2 CNI4, PWB1 CNI3-PWB2 CNI4
[20] In Stock
PCA504A264HC
WIRING ASSY
Notes: PWB2 CNACT1- LACT CNACT, 4 black wires with white plugs PWB2-ACTIVE FILTER MODULE. One plug is slightly smaller than the other. (PWB2 CNACT1- LACT CNACT)/ LENGTH 55.5CM Show Image
PCA504A264HC
[21] Contact
PCA504A292C
WIRING ASSY
Contact
Notes: PWB1 CNDRM- PWB4 CNDRM
[22-24] In Stock
PCA504A292P
WIRING ASSY
Notes: PWB3 L1 ,PWB3 N - PWB1 CNW,PWB4 CNPOWER, PWB3 L1o,PWB3 No- PWB1 CNW,PWB4 CNPOWER Show Image
PCA504A292P
[23] In Stock
SSA564A149AG
FUSE(CURRENT)
Notes: 4A, F 4A‚ - 4 AMP FUSE - ****NOT MAIN FUSE**** Show Image
SSA564A149AG
[24] In Stock
RWC564B002
HOLDER,FUSE
RWC564B002
[25] In Stock
PCA504A292V
WIRING ASSY
Notes: PWB3 CN1- TB 1,TB 2 Show Image
PCA504A292V
[26] In Stock
PCA504A292Z
WIRING ASSY
Notes: C1 +,C1 -- PWB1 CNA1,PWB1 CNA2 Show Image
PCA504A292Z
[27] In Stock
PCA504A299
HARNESS ASSY
Notes: E,TB D1,TB D2,TB D3,TB C- PWB4 CNDRED Show Image
PCA504A299
[28] In Stock
PSA941F001
SPRING LEAF
Notes: FOR THO-R1,R2,D,S, 1pc ONLY Show Image
PSA941F001
[29] Contact
PSC011G564K
LABEL,WIRING
Contact
[30] Contact
PSB011F161B
Contact
SKU: FDCA100VNX/1 CONTROL AND PARTS SET Category:
0
    0
    Your Cart
    Your cart is empty
      Calculate Shipping