FDC100VNX HEAT EXCH. ASSY

FDC100VNX HEAT EXCH. ASSY

Parts List

Key:
Instock.
Nilstock.
Contact MRE.

Check the parts position number [ ] matching with the drawing. Login to view prices.

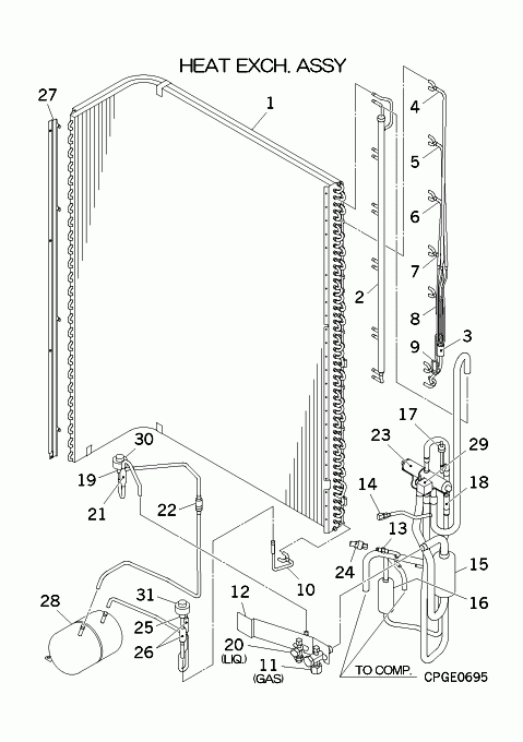
[1] Contact
PCA311A057
HEAT EXCH(AIR)
Contact
Notes: See part HEAT EXCH *ASSY*
[1-10] In Stock
PCA301A146B
HEAT EXCH ASSY(AIR)
Notes: ***EXTRA LARGE PART-MAYBE EXPENSIVE FREIGHT***
[2] Contact
PCA315D188A
HEADER ASSY,GAS
Contact
[3] Contact
SSA315A302
DISTRIBUTOR
Contact
[3-9] Contact
PCA315A092C
DISTRIBUTOR ASSY
Contact
[4] Contact
PCA315B881
CAPILLARY ASSY(1)
Contact
Notes: !D2.8XD4.0 L300
[5] Contact
PCA315B882
CAPILLARY ASSY(2)
Contact
Notes: !D2.8XD4.0 L300
[6] Contact
PCA315B894
CAPILLARY ASSY(3)
Contact
Notes: !D2.8XD4.0 L300
[7] Contact
PCA315B883
CAPILLARY ASSY(4)
Contact
Notes: !D2.8XD4.0 L300
[8] Contact
PCA315B884
CAPILLARY ASSY(5)
Contact
Notes: !D2.8XD4.0 L300
[9] Contact
PCA315B885
CAPILLARY ASSY(6)
Contact
Notes: !D2.8XD4.0 L300
[10] Contact
PCA321C985A
PIPING ASSY
Contact
[11] In Stock
PCA381A112A
VALVE,SERVICE(5/8")
Notes: GAS Show Image
PCA381A112A
[12] Contact
PCA116A270
BRACKET
Contact
[13] In Stock
PCA327B056
VALVE ASSY,SERVICE
PCA327B056
[14] In Stock
SSA327B067
VALVE,SERVICE
SSA327B067
[15] Contact
SSA325A001CL
PIPE,SHELL
Contact
[16] Contact
SSA325A001AG
PIPE,SHELL
Contact
[17] In Stock
SSA532A083
SWITCH HP
Notes: 63H1, (HIGH PRESSURE SWITCH) - 63H1 Show Image
SSA532A083
[18] In Stock
SSA385A018A
VALVE CHECK
[19] In Stock
SSA387F044
EXP VALVE
Notes: EEVC or SM1, EEV Body Show Image
SSA387F044
[19-22] In Stock
PCA387F048
EXP VALVE
Notes: includes Expansion Valve Body, Liquid line Service valve & 2 Strainers
[20] In Stock
PCA381A066
VALVE ASSY
Notes: LIQ., 3/8" LIQUID Show Image
PCA381A066
[21] In Stock
SSA357A059B
STRAINER
SSA357A059B
[22] In Stock
SSA357A005AA
STRAINER
SSA357A005AA
[23] In Stock
SSA382C096A
VALVE, S(4WAY)
Notes: 20S,20SL, Reversing Valve Body
[24] In Stock
SSA551D022C
SENSOR LP
Notes: LOW PRESSURE TRANSDUCER Show Image
SSA551D022C
[25] In Stock
SSA387F044A
EXP VAL XP
Notes: EEV or SM2, EXPANSION VALVE BODY ONLY Show Image
SSA387F044A
[25-26] In Stock
PCA387F035F
VALVE ASSY,EXP(HEATING)
PCA387F035F
[26] In Stock
SSA357A059T
STRAINER
SSA357A059T
[27] Contact
PCA141A110
PLATE ASSY,BAFFLE
Contact
[28] In Stock
SSA352B052
RECEIVER
Notes: 1pc ONLY, SOLD INDIVIDUALLY
[29] In Stock
PCB382F107ZB
COIL ASSY, SOLENOID
Notes: FOR 20S, SOLENOID COIL FOR REVERSING VALVE/ LENGTH 55.5CM Show Image
PCB382F107ZB
[30] In Stock
PCA382F021
SOLENOID COIL
Notes: FOR EEVC, EEVC - COOLING EXPANSION VALVE SOLENDOID COIL - white plug
[31] In Stock
SSA382F229J
SOLENOID XP
Notes: FOR EEVH or SM2, Red Plug Show Image
SSA382F229J
SKU: FDC100VNX HEAT EXCH. ASSY Category:
0
    0
    Your Cart
    Your cart is empty
      Calculate Shipping